You are using an outdated browser. For a faster, safer browsing experience, upgrade for free today.

Musica, Cinema e FHSS

di Federico Borsari - 18 Dicembre 2024

Usate il telefonino, il GPS, il Wifi ed il Bluetooth? Sicuramente sì.
Sapevate che queste tecnologie utilizzano il FHSS (Frequency-hopping spread spectrum)? Probabilmente no (a meno che non siate addetti ai lavori).
Sapevate che il FHSS è stato "inventato" da un musicista (pianista e compositore) e da un'attrice cinematografica?
Sembra strano, ma è proprio così.

George Antheil

 George AntheilNato a Trenton (New Jersey) nel Luglio 1900, George Antheil, pianista e compositore, è molto conosciuto nell'ambito musicale statunitense ed europeo come esponente delle avanguardie musicali del Novecento, quelle che si rifacevano ad un tipo di musica "meccanicistica" (o, anche, "percussiva") che si ispirava ai "rumori" industriali, che venivano riproposti tramite strumenti musicali "normali" o "preparati" ed anche con l'ausilio di veri e propri "rumori".
Antheil era in contatto, ovviamente, con i gruppi musicali europei che in quel periodo (Anni Venti del Novecento) monopolizzavano la scena del Vecchio Mondo con un tipo di musica che "rompeva" radicalmente con il passato e che, a seconda dei casi, entusiasmava o scandalizzava il pubblico.
Antheil, nel 1923, si trasferì per qualche anno in Europa e si esibì in Francia, Germania, Inghilterra ed Italia presentandosi come un solista che univa ad una solida tecnica interpretativa dei "classici", una travolgente irruenza nell'interpretazione dei contemporanei e, soprattutto, delle sue musiche.
Tra le sue composizioni di quel periodo, che presentò in prima assoluta a Berlino nel 1925, troviamo il famoso Ballet Mécanique (colonna sonora per un film muto dal titolo omonimo) in cui sul palco si trovavano due pianoforti a coda suonati da due pianisti, sedici pianoforti meccanici (a rullo) sincronizzati (i rulli venivano fatti partire contemporaneamente), tre xilofoni, percussioni di ogni tipo, sette campanelli elettrici, una sirena antincendio e tre eliche di aeroplano (se siete curiosi di ascoltarlo -e vederlo- lo trovate QUI).
Il brano venne accolto entusiasticamente dal pubblico e dalla critica ed è tuttora il brano più conosciuto (e rappresentato) di Antheil. Di questa composizione, Antheil stesso ne farà poi una seconda versione, nel 1956, dove i pianoforti a coda sono quattro e non c'è più la sirena antincendio. Oggi, con le moderne tecnologie, i sedici pianoforti meccanici sono sostituiti da sequencer azionati da computers.
Dopo la parentesi europea, Antheil tornò negli Stati Uniti e, ovviamente, ripropose il suo Ballet immaginando un grande successo. In effetti il pubblico "americano" non era (e non lo è tuttoggi) preparato per un tipo di musica così "sconvolgente" ed il fiasco fu totale.
Antheil, quindi, decise di abbandonare le avanguardie musicali e di dedicarsi alla composizione di colonne sonore per films e nella sua seguente carriera scrisse le musiche per venticinque films diretti anche dai migliori registi del periodo, tra cui Fritz Lang e Cecil B. De Mille.
Nel 1942, per combinazione, fu, assieme all'attrice Hedy Lamarr, l'inventore del FHSS. Ma di questo parleremo dopo.
George Antheil morì nel Febbraio 1959, famoso musicista ma assolutamente ignorato (così come la Lamarr) come inventore di quella cosa che qualche decennio dopo rivoluzionerà le telecomunicazioni mondiali.

Hedy Lamarr

 Hedy Lamarr Il 9 Novembre 1914, a Vienna (Austria), nasce Hedwig Eva Maria Kiesler. Di facoltosa famiglia ebrea non praticante, fin da ragazza Edwig esprime due passioni: la scienza e lo spettacolo. Si iscrive alla facoltà di Ingegneria e, nel contempo, frequenta l'ambiente cinematografico tedesco, dove fa le sue prime conoscenze e dove ottiene i primi ruoli di attrice. Convintasi che la sua strada è quella cinematografica, la giovane Edwig abbandona gli studi scientifici e, poiché era una ragazza veramente bella, riscuote i primi successi, che culminano, nel 1933, con la sua interpretazione come protagonista nel film "Estasi", nel quale gira la prima scena di nudo femminile integrale (la si vede nuotare nuda in un laghetto) e la prima scena di simulazione di un orgasmo femminile (la trovate QUI). Dati i tempi, bisogna dire che nel film non si vede granché (la scena del lago è ripresa abbastanza da lontano e la simulazione dell'orgasmo è interpretata in una sequenza di primo piano del suo viso); ciononostante, il film provoca fortissime reazioni e la censura di molti Paesi europei (ma anche gli Stati Uniti) ne vieta la proiezione.
Il padre della ragazza, non molto contento, decide di farla sposare ad un facoltoso industriale, Fritz Mandl, che abitava in un castello e di mestiere faceva il fabbricante di armi, che vendeva a diversi Paesi Europei, tra i quali la Germania e l'Italia. Si dice che nel castello di Mandl venissero a trovarlo, per parlare di "affari", anche Hitler e Mussolini, ma questa cosa non è certa. Certo, invece, è che a casa Mandl arrivavano spesso delegazioni tecniche di esperti ed ingegneri bellici, che trattavano argomenti anche di carattere molto "riservato" in presenza di Hedwig, che consideravano niente più che una bella ragazza ma non immaginavano che, grazie ai suoi studi, ella comprendeva benissimo tutto.
Il marito di Hedwig, più anziano di lei, era gelosissimo e la considerava quasi una sua proprietà, impedendole di fare qualsiasi cosa. Ben presto la giovane si ribella a questa situazione e tenta tre volte la fuga. Per due volte viene "ripresa" dagli scagnozzi del marito; la terza riesce. Raggiunta dapprima Parigi, Hedwig riesce ad imbarcarsi su di un piroscafo diretto negli Stati Uniti d'America. E' l'inizio della sua nuova vita.
Negli Stati Uniti Edwig è conosciuta per via dei suoi films e viene quindi subito introdotta nell'ambiente, assumendo il nome d'arte di Hedy (diminutivo di Hedwig) Lamarr (in omaggio ad un'altra attrice americana, Barbara La Marr, diva del cinema muto morta qualche anno prima).
Nella sua carriera cinematografica americana Hedy partecipò ad una trentina di films, alcuni di buon successo, altri meno apprezzati; in ogni caso non si trattò di pellicole eclatanti, ma la sua bellezza era un potente richiamo per il botteghino e gli uomini erano abbagliati dalla sua figura.
Nel 1942, come abbiamo detto, insieme a George Antheil, inventerà il FHSS, di cui parleremo dopo.
Nel 1958 Hedy Lamarr gira l'ultimo film della sua carriera. Negli anni seguenti appare come ospite in alcune trasmissioni televisive di livello assai "popolare" e nel 1969 rilascia la sua ultima intervista televisiva in una trasmissione dove viene presa abbondantemente in giro da Woody Allen e dal conduttore (la trovate QUI).
I tempi sono cambiati ed il suo "sunset boulevard" assume ben presto tonalità assai tristi. Abituata al successo, Hedy non riesce a sopportare di essere dimenticata, a cui si aggiunge il fatto che i suoi cinque matrimoni americani si sono ben presto rivelati dei fallimenti. Come spesso succede, inoltre, la Lamarr non accetta di invecchiare e di perdere la sua bellezza. I quarant'anni seguenti della vita di Hedy Lamarr sono un tipico esempio di progressiva decadenza, fisica e psichica.
 Hedy Lamarr Rimasta sola (i tre figli si erano allontanati per incomprensioni con la madre), ben presto comincia a dare segni di instabilità psichica. Nonostante le cure di diversi psicologi e psichiatri, Hedy manifesta sempre più spesso turbe che la portano a denunciare più volte di essere stata stuprata da alcuni tecnici che avevano effetuato riparazioni nella sua casa; in tutti i casi viene accertato che si è inventata tutto e deve pagare pesanti risarcimenti. Viene arrestata per due volte per aver rubato oggetti in esercizi commerciali e deve pagare forti ammende. Nella speranza di contrastare la vecchiaia si sottopone a diversi interventi di plastica facciale che, però, purtroppo, peggiorano la situazione (nella foto a fianco (Credit: alamy.com) la sua ultima fotografia, scattata nel 1991 dopo il suo arresto per un furto avvenuto in un negozio di Casslberry in Florida).
Dopo aver cambiato residenza per alcune volte, da Hollywood a New York, si ritira infine in una residenza per anziani in Florida.
Nel 1985 cade il segreto militare sul brevetto del 1942 del FHSS e, finalmente, viene fuori la storia. Hedy viene cercata, trovata ed intervistata ed a tutti quelli che si congratulano con lei, la sua risposta è sempre la stessa: "Era ora che ve ne accorgeste!".
Iniziano ad arrivare riconoscimenti, tra i quali quello da parte dell'Inventor Club of America, della Lockheed, dell'Electronic Frontier Foundation ed il prestigioso Premio Kaplan dalla nativa Austria. Significativo è notare che nessuno di questi riconoscimenti porterà un solo centesimo nelle tasche della Lamarr. Per fortuna, Hedy vince due cause importanti, la prima nei confronti del regista Mel Brooks (mille Dollari) e la seconda nei confronti della Corel Corporation, che le frutta cinquemila Dollari. A questo punto Hedy può lasciare ai suoi figli la somma che servirà, dopo la sua morte avvenuta il 19 Gennaio 2000, per riportare le sue ceneri nella natìa Austria, dove verranno disperse nel Wienerwald (Bosco di Vienna).
La figura della Lamarr è stata "investigata" da diversi biografi, che l'hanno di volta in volta definita "fredda", "calcolatrice" e "priva di sentimenti" (e negli ultimi anni anche "pazza"). Uno di essi disse anche che "l'unica persona che la Lamarr amava era sé stessa". Noi non abbiamo elementi per confortare o confutare queste tesi. Sicuramente fu una donna che, in quell'epoca, si pose abbondantemente al di fuori degli schemi e, coerentemente, ci rimase fino alla fine.

Il Salto di Frequenza

Ed eccoci arrivati all'invenzione del famoso "salto di frequenza", che la Lamarr mise a punto con la collaborazione del musicista George Antheil nel 1942.
 pianoforte a rulloCome ricorderete, Antheil utilizzava per le sue composizioni e performances artistiche i "pianoforti a rullo". Si trattava di pianoforti verticali che non avevano bisogno del pianista poichè utilizzavano dei nastri (rulli) di carta perforati che, grazie a meccanismi, mettevano in movimento la meccanica del pianoforte e lo facevano suonare.
Gli Ovadesi "vecchi" come chi scrive si ricordano forse di un ometto (che di soprannome, mi pare, facesse "Galetu") che fino ai primi Anni Sessanta del secolo scorso girava per le strade del centro ovadese con uno di questi pianoforti, si fermava a tappe fisse e, girando una manovella, faceva suonare musiche che spargevano allegria in tutto il quartiere. Ebbene, i pianoforti utilizzati da Antheil erano perfettamente uguali a quello. I rulli perforati che azionavano quei pianoforti presentavano dei "buchi" in corrispondenza dei quali, mentra il rullo girava, venivano prodotti i suoni della varie note.

 rullo perforato
Ad ogni "riga" di buchi corrispondeva una nota del pianoforte. Qui di seguito vediamo come si presenta il "rullo" in un moderno sequencer computerizzato:

 sequencer
Nel suo periodo di frequentazione con Antheil (erano molto amici) la Lammar prese spunto per la sua invenzione, appunto, dai rulli perforati dei pianoforti.
Poiché ad ogni nota del pianoforte corrisponde l'emissione di una frequenza audio (suono) diversa dalle altre, Hedy Lammar ipotizzò di sostituire alle frequenze audio le frequenze radio.
Tutti sappiamo come funziona una trasmissione radio: il segnale viene trasmesso su di una precisa frequenza che non cambia mai, poiché se cambiasse si perderebbe il segnale e l'ascoltatore non riceverebbe più nulla. La Lammar, dopo aver ipotizzato di sostituire le frequenze audio con quelle radio, trovò anche il modo di "far saltare" ("Frequency Hopping") il segnale in continuazione da una frequenza all'altra.
Esemplifichiamo:

 sequencer
Rifacendoci all'esempio precedente, sostituiamo alla nota Do la Frequenza 1 (F1), alla nota La la F2, alla nota Sol la F3 ed alla nota Mi la F4. Queste quattro frequenze sono una diversa dall'altra. Ora bisogna fare in modo che il segnale, rappresentato dalle frecce rosse, riesca ad essere "spostato" velocissimamente da una frequenza all'altra secondo intervalli di tempo (centesimi di secondo) definiti e secondo una serie di spostamenti definita. La Lamarr ideò e progettò anche il dispositivo meccanico che serviva per ottenere questo effetto.
Ma quale fu il motivo per cui Hedy ideò e progettò questo sistema di comunicazioni? Per motivi esclusivamente "bellici" che riguardavano la guida dei siluri delle navi.

In quegli anni (in piena seconda guerra mondiale) molte navi della Marina militare statunitense erano equipaggiate con siluri radioguidati, cioè diretti verso il bersaglio nemico tramite onde radio che, però, utilizzavano una sola frequenza. Se il nemico, tramite azioni di spionaggio, veniva a conoscenza della frequenza di pilotaggio dei siluri, poteva agevolmente neutralizzarli e, addirittura, prenderne la guida.
Con il sistema Lamarr-Antheil questo non poteva avvenire poiché prima di tutto bisognava che il nemico scoprisse tutte le precise frequenze che venivano utilizzate e, soprattutto, riuscisse a scoprire le "serie" di sequenza e di intervallo di tempo dei "salti" che, per sicurezza, venivano stabilite poco prima delle operazioni.
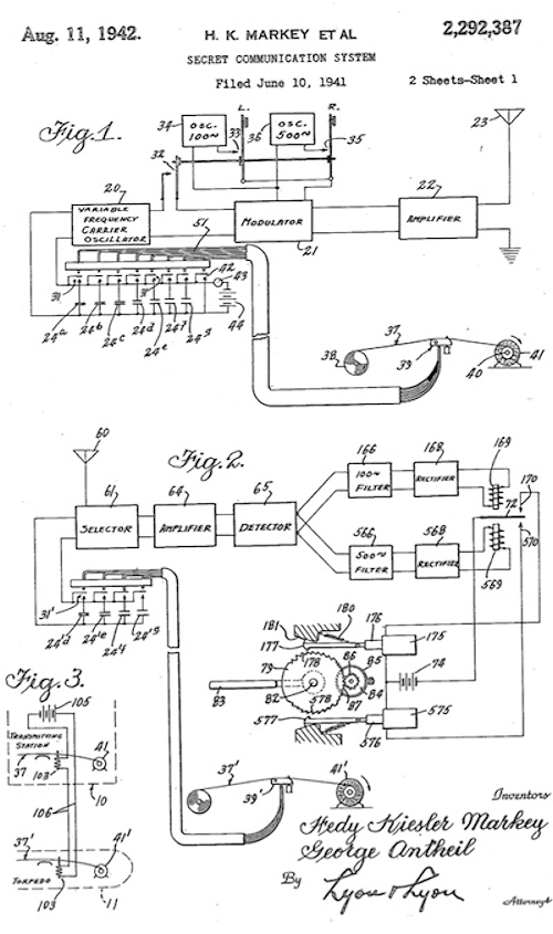
La Lamarr progettò quindi tutto con estrema cura e poi decise di presentare il progetto alle Autorità Militari per il brevetto. Fu così che, il 10 Giugno 1941, Hedy e George presentarono il progetto denominandolo "Secret Communication System".
Alla presenza del funzionario, i due cercano di spiegargli il principio di funzionamento (come abbiamo fatto noi qui sopra), ma il funzionario non capisce e, prendendoli in giro, chiede ai due se per caso intendano mettere dei pianoforti dentro ai siluri. Per buona misura, dice anche che, piuttosto che presentare progetti fantasiosi, Hedy e George farebbero meglio a contribuire, come tutti i buoni Americani, alle spese della guerra con contributi in denaro. E qui, vero o falso che sia l'episodio, scatta il carattere della Lamarr.
Esce nel cortile dove si stanno addestrando i militari e scrive un cartello: "Bacio della Lamarr: 5 Dollari". Un paio di ore dopo, Hedy rientra nell'ufficio, deposita qualche migliaio di Dollari e dice al funzionario la frase: "Io ho fatto il mio dovere. Adesso lo faccia lei!"

 sequencer
Quello che vedete sopra è il brevetto militare, presentato il 10 Giugno 1941 ed approvato il 11 Agosto 1942. Come ben si vede, gli inventori sono Hedy Kiesler Markey (Markey era il cognome del marito della Lamarr a quell'epoca) e George Antheil.
Da quel momento tutto passò sotto le regole del segreto militare ed i due inventori non ne seppero più nulla. Nel 1985, quando il segreto cadde, Antheil era già morto da un pezzo; per la Lamarr si trattò, come abbiamo già detto, di una magra soddisfazione.
Il progetto, per molti anni, venne tenuto nel solito cassetto, anche perchè le tecnologie a valvole di quell'epoca non erano in grado di garantirne un buon funzionamento. Ma i tecnici militari non lo avevano dimenticato, poichè risulta che la Marina Statunitense, durante la "Crisi di Ottobre" del 1962 con Cuba, abbia utilizzato per la prima volta la tecnologia del "salto di frequenza" non per la guida dei missili, bensì per le vere e proprie comunicazioni tra le navi. Anche in questo caso tutto, ovviamente, rimase segretissimo.

Conclusione

Alcuni storici ipotizzano che la Lamarr abbia "riferito" alle autorità statunitensi il contenuto delle conversazioni che aveva ascoltato in Austria relative a segreti militari. Non ci sono riscontri a questa sua presunta attività di "spia".
Quello che è certo è che Hedwig Kiesler, nonostante la sua attività "artistica" come attrice, non aveva affatto abbandonato la scienza e la progettazione e coloro che la andavano a trovare nella sua casa si stupivano nel vedere sparsi sui tavoli decine di progetti, calcoli ed equazioni.
Alla Lamarr sono anche attribuite altre invenzioni, che riguardano la vita di ogni giorno. Ad esempio, pare che il tubo per il rossetto a vite (quello che fa uscire e rientrare il rossetto dal tubo girandone la base) sia opera sua. Allo stesso modo, alla Lamarr è attribuita l'invenzione della "compressa effervescente", quella che si mette nell'acqua e si scioglie senza dover mescolare liberando anidride carbonica.
In sua memoria, in Germania, Austria e Svizzera, il 9 Novembre di ogni anno si svolge "Der Tag der Erfinder", cioè la Giornata dell'Inventore (o Ricercatore), che è a lei espressamente dedicata.